Call us at (650) 938-8833 or email us at Sales@StcValve.net.
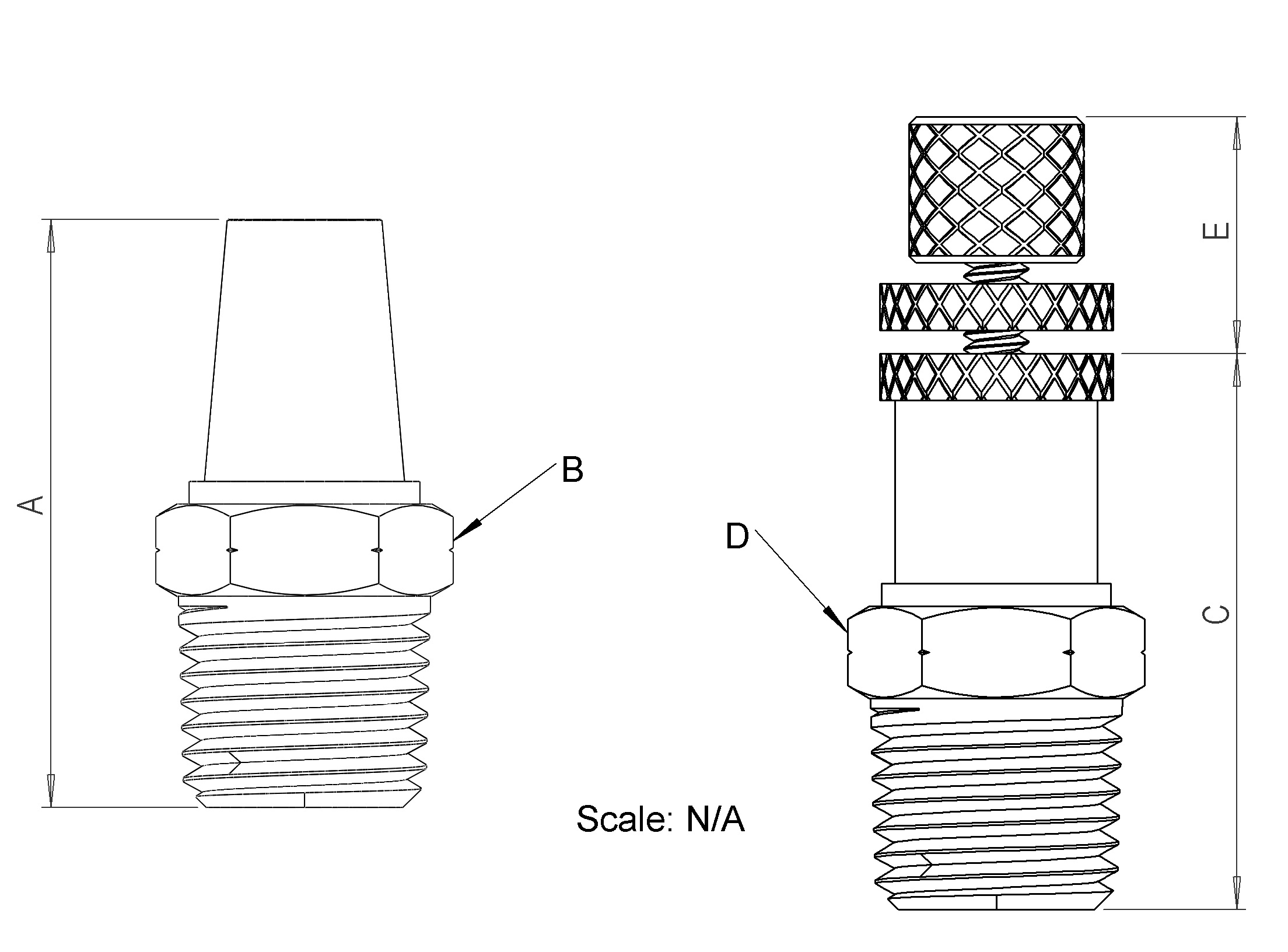
Model BSL & BESL: Brass Silencer and Muffler
|
|
|
| Part No. |
Part No. |
Port (NPT) |
A |
B (hex) |
C |
D (hex) |
E (closed) |
| BSL N1/8 | BESL N1/8 | 1/8" | 22.7 | 12 | 25 | 12 | 9.7 |
| BSL N1/4 | BESL N1/4 | 1/4" | 28.5 | 15 | 25.3 | 14 | 11.7 |
| BSL N3/8 | BESL N3/8 | 3/8" | 35.7 | 18 | 29.6 | 17 | 15.8 |
| BSL N1/2 | BESL N1/2 | 1/2" | 39.3 | 21 | 35.8 | 21 | 21.1 |
|
Dimensions for Reference Use Only: Imperial fittings in mm, Metric fittings in mm, U.S.O. |
Brass Fitting Operating Guide
- Installation of Pipe Fittings
-
Apply an appropriate sealant to the thread, tighten the fitting by hand,
then turn it 2 to 3 turns with a wrench until it reaches the desired torque
listed below.
| Recommendation of Torque for Tightening Fittings |
| Fitting Thread Size |
Torque, lb-ft |
Torque, kgf/cm |
| NPT 1/8, R1/8 |
5 - 6.5 |
70 - 90 |
| NPT 1/4, R1/4 |
8.5 - 10 |
120 - 140 |
| NPT 3/8, R3/8 |
16 - 17.5 |
220 - 240 |
| NPT 1/2, R1/2 |
20 - 21.5 |
280 - 300 |
- Installation of Tubing into Fitting:
- Slowly push a clean and perpendicularly cut tube into the fitting until it comes to a dead stop.
- Gently pull the tubing back until the Collet of the fitting grips onto the tubing and has a good seal.
- Use Polyethylene, Polypropylene, Polyurethane, or Nylon tubing designed for instant fittings. Hard metal tubing,
such as Stainless Steel tubing can be used if the tubing is grooved first.
- Removal of Tubing from Fitting:
- Push in evenly on the two sides of the Release Button.
- Pull out the tube while depressing the Release Button.
- To reuse the tubing, cut off the lodged portion of the previously used tubing in an even and perpendicular fashion.
- Recommended Tubing Material, Size, and Hardness Requirements:
| Tubing Material |
Specified Size |
Tubing Size Tolerance |
| Polyurethane |
+/- 0.004" max. |
+/-0.1 mm max. |
| Polyethylene |
+/- 0.006" max. |
+/-0.15 mm max. |
| Polypropylene |
+/- 0.004" max. |
+/-0.1 mm max. |
| Nylon |
+/- 0.004" max. |
+/-0.1 mm max. |
| Pre-grooved Metal Tubing |
+/- 0.004" max. |
+/-0.1 mm max. |
- Storage:
- Store fittings in a dry, cool place and away from sunlight.
- Specifications, Materials of Construction, and Schematic of Typical Construction:
| Specifications |
| Operating Pressure Range |
0 - 250 PSI (0 - 1650 kpa) |
| Vacuum |
0 - 29.5" Hg (750 mm Hg) |
| Operating Temperature |
5 - 230°F (-15 - 110°C) |
| Recommended Tubing Material |
Polyurethane, Nylon, Polyethylene, Polypropylene. Hard metal tubing can be used if tubing is grooved first. |
| Materials of Construction |
| Metal Body |
Nickel-Plated Brass |
| One piece combination Release Button & Collet |
Nickel-Plated Brass |
| O-Ring/Packing |
NBR |